12+Vaata galeriid
Karniis D576 _1
Karniis D576 _2

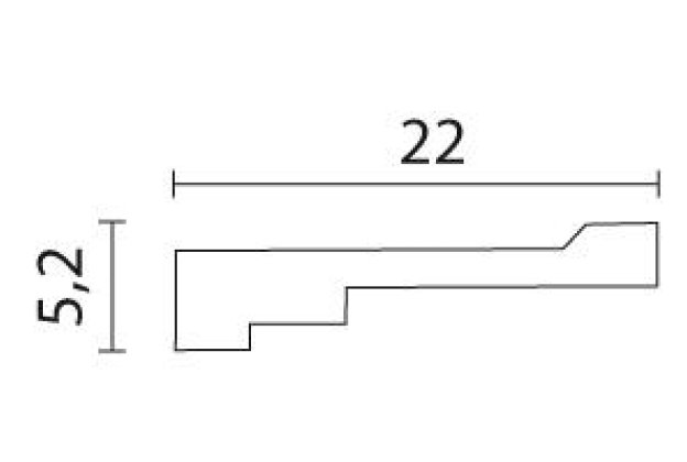
Karniis D576

Toode on tellimisel
Esto 3
Tasu 3 võrdse osana (0% lisakulu). Loe rohkem
Küsi pakkumist
Täida vorm või kirjuta info@porandakeskus.ee või helista +372 56667641
Tehniline info
Tootekood
0
Kollektsioon
Karniisid (146)